郑州信息网 - 收集互联网各类热门信息网站,提供便民发帖,本地生活服务等!

郑州信息网

当前位置: 郑州信息网 > 中原区 > “微商女王”张庭涉传销?旗下公司资金被冻结,此前低调注销多家公司…最新回应来了!

“微商女王”张庭涉传销?旗下公司资金被冻结,此前低调注销多家公司…最新回应来了!

(原标题:“微商女王”张庭涉传销?旗下公司资金被冻结,此前低调注销多家公司…最新回应来了!)

12月28日,据中国网消息,石家庄市裕华区市场监督管理局以《查证函回复》的形式,公开披露了知名日化品牌“TST庭秘密”运营主体达尔威公司涉嫌利用网络从事传销活动被查处的进展。

据石家庄市裕华区市场监督管理局对“李旭反传销团队”《查证函》的回复,该局早在今年6月5日就已对上海市达尔威贸易有限公司涉嫌传销进行立案调查,“因其利用金融机构转移或隐匿涉传销资金,该局已依法申请人民法院采取保全措施,目前案件在进一步调查中”。

图片

有消息称,石家庄市裕华区市场监督管理局相关人员曾表示,达尔威公司此次被财产保全冻结的资金高达6亿元(分两次冻结,主体公司被冻结3亿元,代理商及团队长被冻结3亿元)。

对此,“TST庭秘密”今日凌晨发布微博称,上海达尔威贸易有限公司是一家合法经营的公司,自成立以来始终遵从政府指导,坚持合法经营,依法纳税。非常感谢河北石家庄政府指导我司排查风险,目前公司运营一切正常,我司将积极配合相关部门工作。

图片

根据工商注册信息查询,上海达尔威成立于2013年6月,注册资本为2.24亿元,法定代表人是林吉荣,企业性质为有限责任公司(外商投资企业与内资合资) 。目前,达尔威主营业务包括,从事货物及技术的进出口业务,化妆品、针纺织品、服装鞋帽、办公用品、日用百货等。

TST能成为头部微商,与其创始人明星光环密不可分。据公司官网,上海达尔威由中国台湾地区影视明星林瑞阳及其妻子张庭,共同发起设立。其中,林瑞阳被誉为“台湾第一小生”,早年曾在《一帘幽梦》等琼瑶剧中饰演男主角;张庭则因1991年出演《戏说乾隆》而走红,2014年12月在《武媚娘传奇》中饰演韦贵妃一角而再次获得关注。

据天眼查显示,上海广鹏投资管理有限公司成立于2011年3月,于2016年1月31日认缴出资8154万元人民币,占比达到35%,为上海达尔威大股东;此外,上海胜极生物科技有限公司(以下简称上海胜极)于2016年1月31日认缴出资7384万元,占比达到33%。上海广鹏投资管理有限公司法定代表人为张淑琴(张庭本名),领扬科技有限公司100%控股;上海胜极的法人代表也为张淑琴,展麗(香港)有限公司则是100%控股上海胜极。

图片

“TST庭秘密”低调注销多家公司

据悉,TST于2014年进军微商,主打“活酵母”概念,旗下主要产品为TST系列护肤品等。2014至2018年,TST在微商圈中火爆,以令人咋舌的速度崛起,被人称为“微商第一品牌”。

2018年,达尔威曾被曝“纳税21亿元”,微商的吸金能力一度令市场哗然。

值得注意的是,TST代理是采取提成返点制,公司号称0投资0囤货0风险,发货、邮资由总公司统一负责,代理只需做好销售。其中,新代理统一从小金卡做起,销售额的15%为小金卡业绩提成;小金卡可发卡招代理,个人业绩完成600元,代理团队完成1000元即可享3%奖金。层层代理的业务模式也不断遭到质疑。

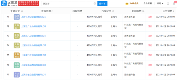
今年9月,TST庭秘密突然低调注销了多家内地公司,一时引发关注。企查查APP显示,张淑琴担任法定代表人的多家公司,包括上海浩广生物科技有限公司、上海运凡企业管理有限公司等都被核准注销。

图片

此外, #陶虹退出张庭夫妇传媒公司股东#这一话题近日也引发热议。据天眼查App显示,上海淘不庭文化传媒有限公司发生多项工商变更,该公司名称也在今年7月由“陶不庭文化传媒”变更为“淘不庭文化传媒”。目前,陶虹已退出该公司股东。但证券时报记者通过查询发现,虽然陶虹不再以自然人身份持股淘不庭公司,但她100%持股的北京最陶然服装服饰有限公司,其持股比例对应地有所上升。即陶虹“退出”的1.8911%股份,事实上是从自然人股东持有,转为法人股东持有。

图片

图片

上海达尔威子公司欲估值13亿注入A股

企查查数据显示,上海达尔威实业有限公司旗下控制33家企业。2017年底,作为日用玻璃制品生产商,山东华鹏(603021)为进一步转型升级,曾与上海达尔威签订战略框架协议,并欲豪掷6.5亿元收购后者旗下上海巨擘亿网实业有限公司(以下简称巨擘亿网)51%股权。

巨擘亿网成立于2016年9月,注册资本仅2000万元,该公司主要从事化妆品的研发、生产与销售业务,以及食品和其他日用品销售服务业务。当时,巨擘亿网经营自有品牌共有51中,其他品牌共有32种。

作为一家成立仅14个月的公司,巨擘亿网51%股权对价就已经达到6.5亿元,那么其100%股权估值将是12.75亿元。2017年前10个月,巨擘亿网便已完成营业收入2.91亿元,净利润7451.42万元。截至到2017年10月31日,巨擘亿网资产总额为2.17亿元,资产净额9451.15万元。

事实上,“贵为”上市公司的山东华鹏经营业绩在当时远逊一筹,2011年~2016年期间,其净利润分别为5106万元、4337万元、4140万元、5787万元、5009万元和5136万元,尚无年度净利润超越并购标的现有业绩水平。

值得关注的是,巨擘亿网的主要的收入来源化妆品生产销售业务,其产品则主要在股东达尔威的平台上进行销售,巨擘亿网优异的经营业绩主要得益于背靠上海达尔威这颗“大树”。相对巨擘亿网,上海达尔威更显厉害,2017年1~9月,该公司完成营业收入36亿元,实现净利润高达11.43亿元。

对于此笔并购案,上交所相关监管部门也予以高度关注,火速发布《问询函》,要求山东华鹏对跨界经营风险、收购资金来源、标的股东成本等多个问题进一步补充说明。

不过,历时仅一星期,2017年11月25日,山东华鹏的上述收购就草草终止,也并未回复上交所问询函,公司彼时表示,鉴于达尔威与巨擘亿网之间资产存在重叠与交叉,难以有效区分,且巨擘亿网业务对达尔威存在重大依赖,经审慎研究,终止本次战略合作。

本文地址: /zy/335296.html 手机版
  • 上一篇:没有了
  • 下一篇:没有了
你还可能关注到的相关内容
发表评论 网友发言只代表其个人观点,不代表电脑技术网的观点或立场。
验证码:点击我更换图片